Автор Тема: Вездеход Тактик эксплуатация.  (Прочитано 79833 раз)

0 Пользователей и 6 Гостей просматривают эту тему.

Оффлайн Пянда

  • Участник форума
  • *****
  • Сообщений: 1128
  • Имя: Сергей
  • Откуда: Архангельская область
Вездеход Тактик эксплуатация.
« Ответ #240 : Января 28, 2026, 21:28:27 pm »
Сергей, напомни схему своего везда и примерный вес?

Схема такая- начиная с раздатки штатная трансмиссия Нивы. Силовая - воздушный китаец (пробовал разные, 15, 17,5, 22 (2V78F)) сейчас 20 л.с., коробка Ока в валом Юрича, соединение через автосцепление и цепную муфту  1*11 (пробовал штатную КПП Нивы с вариатором + цепь 1/3 немало минусов), дальше кардан на раздатку. Тормоз - диск на валу раздатки и оковский суппорт. Колеса бескамерка ОИ 25, внешний конус герметичный. Плавает. Уровень на воде - перёд сантиметров на 5 см выше оси, зад по центру.
Рама - 2 продольные металлопрофилины 30х60х2, поперечины в местах крепления агрегатов к раме 30х30, продольные пришлось усилить потом еще 40х20 на расстоянии примерно меж осями.  Строил с крепления балки переднего моста и далее по длине карданов.  Кунг из металлопрофиля 10х10х1, оцинковка 0.5 мм., пол фанера 8 мм, по краям фанера 3 мм.
 Вместе со мной, лопатой, домкратом, ключами, бензин 10 л. в моторном отсеке и аккумулятором на 6 кг под своим задом. По расчету водоизмещения колес (+ запас в конусах) вес где то в районе 650 кг.
« Последнее редактирование: Января 28, 2026, 21:45:52 pm от Пянда »
Сообщение понравилось: лесник 83

Оффлайн лесник 83

  • Участник форума
  • *****
  • Сообщений: 3185
  • Имя: Александр
  • Откуда: Архангельская область
Вездеход Тактик эксплуатация.
« Ответ #241 : Января 28, 2026, 22:34:45 pm »
Блокировка довключается?
Лампочка индикатор вкл загорается? Если он есть вообще на панели.

Мне кажется проблема бонально проста...не довключается. Штырь(1 фото)кулисы упирается в резьбу датчика вкл. У меня так было. Поставил шайбу под датчик( фото2). Отверни датчик на один оборот и попробуй
Причина (-ы) где-то глубже ::omg::: Попробовал, также вышибает блокировку. Пока не очень разогрета была РК (около -25гр сегодня) держала, а потом- при наборе/сбросе газа вылетает,  вроде и место ровное. Сигналка  есть, работала, как выкрутил- перестала. Включение ощущается  нормально.
Вообще, странноватая конструкция, если эл. датчик может вышибать механику, затянутую с приличным моментом! Этак и кнопки- концевики начнут открывать дверцы. ::crazy:::
Комплект прокладок, но можно на герметике собрать . Ну и сальники , если есть сомнения
Да, оказывается на другане- озоне есть ремкомплекты к РК. :) Но не стал его пока обнадёживать, заказал только прокладки.
Бум делать вскрытие, если только мороз не внесёт поправки.

Оффлайн лесник 83

  • Участник форума
  • *****
  • Сообщений: 3185
  • Имя: Александр
  • Откуда: Архангельская область
Вездеход Тактик эксплуатация.
« Ответ #242 : Января 28, 2026, 22:39:44 pm »
Схема такая- начиная с раздатки штатная трансмиссия Нивы. Силовая - воздушный китаец (пробовал разные, 15, 17,5, 22 (2V78F)) сейчас 20 л.с., коробка Ока
Щадящая схема для РК Нива и вес тоже!

Оффлайн Пянда

  • Участник форума
  • *****
  • Сообщений: 1128
  • Имя: Сергей
  • Откуда: Архангельская область
Вездеход Тактик эксплуатация.
« Ответ #243 : Января 28, 2026, 22:57:13 pm »
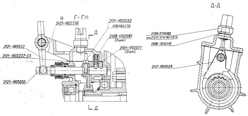
Сними поросенка, - открутить кардан, 6 гаек, рычаги включения, масло слей и сдерни. Погляди, в чем там дело. Скорее всего зубчатая муфта не до конца доходит, или зубья стерты, или конусный болт фиксации вилки включения на штоке ослаб и вилка полностью не заталкивает муфту на зубцы вала.

Оффлайн лесник 83

  • Участник форума
  • *****
  • Сообщений: 3185
  • Имя: Александр
  • Откуда: Архангельская область
Вездеход Тактик эксплуатация.
« Ответ #244 : Января 31, 2026, 13:29:28 pm »
Скорее всего зубчатая муфта не до конца доходит, или зубья стерты, или конусный болт фиксации вилки включения на штоке ослаб и вилка полностью не заталкивает муфту на зубцы вала.
Выноса зубьев нет, ослабление крепления вилки и износа нет. Может вилка или тоньше, или не оригинал, это же и к муфточке относится, но сравнить пока не с чем  ::thinking::: Брать чтоль для пробы на озоне (ИИ озона навострил уши  ::sarcastic:::)?

Понять пока не можно, до конца доходит муфта или нет, даже на снятой РК и открытой крышкой- лючком, видимость ограничена.
,

 а на разобранной РК люфт муфты на валике вроде и неприличный. ::undecided::: Но когда садится в положение заблокировано (на длинные шлицы дифа), то плотно. Тут без люфтов никак, по идее, заклинит. ::thinking:::


https://rutube.ru/shorts/58b267ddea0e68c397d6391d862f1218/?r=wd

Получается что муфточка удерживается во включенном состоянии (блок) вилкой через подпружиненный стопор (шарик) в спец . канавке и ещё преднатягом вращения (поджимает). Пружинок в продаже не нашёл, усилить вроде несложно- добавить 1-2мм грибок  (или сколько, по факту пробы на вкл/выкл)?  Дело ещё и в том, что для этой пробы на неснятой с вездика РК можно добраться только выпилив полик кабинета, более никак. ::crazy:::

ДИФ 4-х сателлитный и валики на 24 шлица, усиленные.





Оффлайн лесник 83

  • Участник форума
  • *****
  • Сообщений: 3185
  • Имя: Александр
  • Откуда: Архангельская область
Вездеход Тактик эксплуатация.
« Ответ #245 : Января 31, 2026, 15:04:53 pm »
Проблема в этой раздатке скорее выключить, чем сама выключится. А под нагрузкой и хрен выключишь чем.
Включение блокировки РК  в движении, используя инерцию движения и сбрасывая газ или выжимая сцепление, понятно. Появляется слабина из-за убираемого преднатяга двух валиков. А включение блоки в в отсутствие этих моментов: в снегу или болоте, каждый раз без проблем? И большое ли усилие на включение, фиксация (вплоть до щелчка) осЧущается?

Дело в том что с АКПП присутствует преднатяг всегда (на вариаторе это называется самоход). В болоте/снегу инерция движения при сбросе газа никакая. А именно там и бывает нужна блокировка. И возможно, это ведёт к недовключению и плюс слабая пружинка шарикового фиксатора- и вышибает её (блоку) ::undecided:::
Потому как 3-4 раза мне тоже пришлось пыжиться с выключением блокировки. И это, когда вездик катился с угора в реку, вкл. блоку для выхода на противоположный берег. Только на ЗХ и удалось вырубить её, когда уже вышел на ровное место.

Оффлайн Пянда

  • Участник форума
  • *****
  • Сообщений: 1128
  • Имя: Сергей
  • Откуда: Архангельская область
Вездеход Тактик эксплуатация.
« Ответ #246 : Января 31, 2026, 15:12:05 pm »
На фото почти все детали выглядят как новенькие. А вот валик выглядит как из чермета. И на фотке зубья как будь то свернутые. Может так кажется. Вилка сильно изношена или  нет, люфт в подшипнике большой нет. в общем всё тщательно осмотреть и проанализировать. Может быть и несколько малозаметных причин, в совокупности влияющих на выталкивание муфты обратно.

Оффлайн Пянда

  • Участник форума
  • *****
  • Сообщений: 1128
  • Имя: Сергей
  • Откуда: Архангельская область
Вездеход Тактик эксплуатация.
« Ответ #247 : Января 31, 2026, 15:20:56 pm »
Включение и выключение блокировки у Нивы всегда затруднительно. Хотя вроде и заточка на зубьях на валу есть, но довольно часто попадает зуб против зуба и чтобы разошлись, надо чтоб передние и задние колеса прошли разный путь, чтоб зубья сместились и только тогда можно включить. А вот то, что автомат постоянно подпирает, не есть гут. Но это на процесс вкл-выкл. А когда включено и вышибает, то вид кпп ни причем. Надо смотреть почему в раздатке.

Оффлайн Пянда

  • Участник форума
  • *****
  • Сообщений: 1128
  • Имя: Сергей
  • Откуда: Архангельская область
Вездеход Тактик эксплуатация.
« Ответ #248 : Января 31, 2026, 15:26:45 pm »
Включение блокировки РК  в движении, используя инерцию движения и сбрасывая газ или выжимая сцепление, понятно.
Этот принцип в раздатке не работает. Это в кпп так. Выравнивание скоростей. В раздатке и валик и муфта на ровной поверхности крутятся с одинаковой скоростью. Если встали зуб против зуба, то сместить можно только разностью пути между передней и задней осью. Поэтому иногда на ниве когда не включается надо подвигаться вперед-назад, чтоб они немного по зубьям сместились между собой. И в движении включать тоже тяжело, порой и не возможно, особенно на неровной дороге из-за стремления передней и задней оси пройти разное расстояние и по этому между зубьями валика и муфты практически всегда присутствует разнонаправленное напряжение. Поэтом то и нельзя постоянно ездить с включенной блокировкой.  Поэтому и включение выключение рекомендуется производить остановившись.
Фото валика, что выше, сначала скопировал, потом фото увеличил, чтоб внимательно рассмотреть зубья. Так не увидеть.
« Последнее редактирование: Января 31, 2026, 15:38:01 pm от Пянда »
Сообщение понравилось: МВП

Оффлайн Renegat

  • Участник форума
  • *****
  • Сообщений: 1407
  • Имя: Евгений
  • Откуда: Кудымкар
  • Техника: Газ-69А,Toyota 4 Runner 130
Вездеход Тактик эксплуатация.
« Ответ #249 : Января 31, 2026, 17:05:19 pm »
Включение блокировки РК  в движении, используя инерцию движения и сбрасывая газ или выжимая сцепление, понятно. Появляется слабина из-за убираемого преднатяга двух валиков. А включение блоки в в отсутствие этих моментов: в снегу или болоте, каждый раз без проблем?
Тут не все однозначно.Разное давление в колесах передней и задней оси и вес ( в результате разные обороты валов ,нет синхронизации вращения),будут проблемы с включением отключением.Я тупо тяну рычаг блокировки на себя и медленно еду,так же отключаю.У меня проблемы есть с включением повышайки понижайки.Мало тормоз удерживать,надо акпп в нейтраль перевести или паркинг,чтоб снять момент с валов
Сообщение понравилось: МВП

Оффлайн лесник 83

  • Участник форума
  • *****
  • Сообщений: 3185
  • Имя: Александр
  • Откуда: Архангельская область
Вездеход Тактик эксплуатация.
« Ответ #250 : Января 31, 2026, 18:57:30 pm »
Поэтому и включение выключение рекомендуется производить остановившись.
Не соглашусь, на Т_П с преднатягом АКПП, не включить не выключить, остановившись, или вилку или рычаг погнёшь. Может уж перед включением блоки переводить рычаг селектора в N, но что-то мне так не пришлось делать. ::undecided::: и в ТХ ни слова. Вот будет хохма, если это не учёл.  ::girl_cray::: 
А вот  на ходу с использованием игры газом, включается норм, иногда и выключается также, дополнительно поработав рулём право-лево. Не всегда же  блоку самостоятельно вырубает сразу, едешь же сотню (-и) метров. В ТХ сказано: блокировать МОД  вне дорог с твёрдым покрытием, т.е. для вездехода практически 9/10  :)
Т.е. упор на вопрос: вырубает отчего, когда включилась? По факту, ничего из препятствующих факторов выхода муфточки из блокировки  шлицев, кроме вилки с шариком, с пружиной (фиксатора на тонком валике переключения) и нету. Просто шлицы.

Оффлайн лесник 83

  • Участник форума
  • *****
  • Сообщений: 3185
  • Имя: Александр
  • Откуда: Архангельская область
Вездеход Тактик эксплуатация.
« Ответ #251 : Января 31, 2026, 19:09:31 pm »
У меня проблемы есть с включением повышайки понижайки.Мало тормоз удерживать,надо акпп в нейтраль перевести или паркинг,чтоб снять момент с валов
С переключением пвш-пнж у меня устаканилось- только в N автомата, минуя нейтраль раздатки, как на буране. Если случайно вышел в нейтраль РК и не хочешь слушать  рокот, то лучше  переключить на заглушенном движке.
Про переключение блоки на ходу написал выше, на медленном ходу и ровной площадке. А в снегу/болоте она, блин, сама вылетает.

Оффлайн Юрич

  • Участник форума
  • *****
  • Сообщений: 4665
  • ВТС Рэмо-сервис 1965
  • Имя: Геннадий
  • Откуда: Тольятти
  • Техника: Лада-Гранта Кросс Универсал
Вездеход Тактик эксплуатация.
« Ответ #252 : Января 31, 2026, 19:14:36 pm »
И на фотке зубья как будь то свернутые.
Я вот смотрю, смотрю... а почему муфта на валике привода моста, она, вообще то на крышке МОД на ПМЖ...



И не нравятся мне искривленные шлицы и какой то след из-под шестерни на ней... Возможно обман зрения или грязь, присмотрись!

Оффлайн Юрич

  • Участник форума
  • *****
  • Сообщений: 4665
  • ВТС Рэмо-сервис 1965
  • Имя: Геннадий
  • Откуда: Тольятти
  • Техника: Лада-Гранта Кросс Универсал
Вездеход Тактик эксплуатация.
« Ответ #253 : Января 31, 2026, 19:24:25 pm »
На Ниве, немного поворачивая рулем при сброшенном газе, заставляешь мосты проходить разные расстояния, т.е. шлицы муфты, МОД и валика рассогласовываются по скорости и происходит выключение.

На переломке с примерно одинаковыми полубазами этот прием не эффективен, мосты катятся след в след с одинаковой скоростью...

И еще, мне очень не нравится дисковый тормоз на заднем валу РК ВАЗ, видел раньше на фото, там даже двухрядный подшипник на пределе, слабое место в РК ВАЗ, его карданом дергает под нагрузкой, даже до развала задней крышки!
По-другому никак?

Оффлайн лесник 83

  • Участник форума
  • *****
  • Сообщений: 3185
  • Имя: Александр
  • Откуда: Архангельская область
Вездеход Тактик эксплуатация.
« Ответ #254 : Января 31, 2026, 20:31:59 pm »
Я вот смотрю, смотрю... а почему муфта на валике привода моста, она, вообще то на крышке МОД на ПМЖ...
;) В РК на ОБЖ две муфты, малая и большая.
И не нравятся мне искривленные шлицы и какой то след из-под шестерни на ней... Возможно обман зрения или грязь, присмотрись!
Да, надо пересмотреть это дело.
А валы выхода на  24 шлиц- это Иж- техно.. наверное.
И еще, мне очень не нравится дисковый тормоз на заднем валу РК ВАЗ, видел раньше на фото, там даже двухрядный подшипник на пределе, слабое место в РК ВАЗ, его карданом дергает под нагрузкой, даже до развала задней крышки!
По-другому никак?
На Т-П нет тормоза на РК, есть  4 дисковые  (уаз) по кругу  на мостах, тут всё ладом.
Шарик- кнопка элекро сигналки тоже участвует негативом в процессе.

Оффлайн Пянда

  • Участник форума
  • *****
  • Сообщений: 1128
  • Имя: Сергей
  • Откуда: Архангельская область
Вездеход Тактик эксплуатация.
« Ответ #255 : Января 31, 2026, 21:15:02 pm »
И еще, мне очень не нравится дисковый тормоз на заднем валу РК ВАЗ, видел раньше на фото,

Это моё фото. Двурядный подшипник ничего, держит пока, режим у меня щадящий, вес небольшой.

Оффлайн Пянда

  • Участник форума
  • *****
  • Сообщений: 1128
  • Имя: Сергей
  • Откуда: Архангельская область
Вездеход Тактик эксплуатация.
« Ответ #256 : Января 31, 2026, 22:49:12 pm »
Скачай Гига чат и спроси у ИИ.
Про шуршит весь интернет за несколько минут и выдаст результат

Оффлайн Пянда

  • Участник форума
  • *****
  • Сообщений: 1128
  • Имя: Сергей
  • Откуда: Архангельская область
Вездеход Тактик эксплуатация.
« Ответ #257 : Января 31, 2026, 22:55:42 pm »
Мне выдал следующее: Таким образом, проблема с автоматическим отключением блокировки чаще всего вызвана неправильным положением валов или техническими дефектами, возникающими вследствие износа компонентов раздаточной коробки.

Оффлайн Юрич

  • Участник форума
  • *****
  • Сообщений: 4665
  • ВТС Рэмо-сервис 1965
  • Имя: Геннадий
  • Откуда: Тольятти
  • Техника: Лада-Гранта Кросс Универсал
Вездеход Тактик эксплуатация.
« Ответ #258 : Января 31, 2026, 23:05:04 pm »
Мне выдал следующее:
Мне частенько в прошлой жизни говорили: "Не умничай!", но за такие слова... наверное, не посмели бы!
Как звучит!  1*11
Даже стыдно становится, что сразу не догадались... ::shy:::

Оффлайн Юрич

  • Участник форума
  • *****
  • Сообщений: 4665
  • ВТС Рэмо-сервис 1965
  • Имя: Геннадий
  • Откуда: Тольятти
  • Техника: Лада-Гранта Кросс Универсал
Вездеход Тактик эксплуатация.
« Ответ #259 : Января 31, 2026, 23:08:18 pm »
держит пока, режим у меня щадящий, вес небольшой.
Просто дисковый тормоз создает момент, в разы бОльший, чем может передать штатный кардан, дифференциал и полуоси моста. Если колеса зацепятся, не дай Бог, как следует, беды не миновать!

 

Вездеход с "ломающейся" рамой "Бобик" (4х4)

Автор Asterix

Ответов: 215
Просмотров: 349283
Последний ответ Сентября 12, 2024, 00:07:17 am
от Asterix
Вездеход "Чернодарец".

Автор Х А Н Т

Ответов: 424
Просмотров: 246586
Последний ответ Сентября 21, 2022, 17:13:52 pm
от Valeriy
Вездеход "Кама"

Автор расим

Ответов: 112
Просмотров: 60667
Последний ответ Января 30, 2020, 21:08:59 pm
от МВП
Вездеход "Циклоп"

Автор PaVLik

Ответов: 115
Просмотров: 85249
Последний ответ Января 13, 2018, 18:49:31 pm
от PaVLik
Вездеход "Матиз"

Автор P_S_M

Ответов: 478
Просмотров: 231829
Последний ответ Ноября 19, 2021, 17:17:51 pm
от P_S_M